10

Samsung Galaxy Z Fold 5: cerniera più bella per il display, ma non sembra più resistente

Samsung Galaxy Z Fold 5 sembra avere una cerniera con design rinnovato: più bella a vedersi, ma non sembra essere più resistente.

NOTIZIA di Giorgio Melani   —   03/03/2023
Samsung Galaxy Z Fold 5: cerniera più bella per il display, ma non sembra più resistente

Samsung ha introdotto un nuovo tipo di cerniera per consentire il ripiegamento del display sul nuovo Samsung Galaxy Z Fold 5, ma la soluzione tecnica, sebbene più piacevole alla vista, non sembra offrire una maggiore resistenza rispetto a quella precedente.

Il design a "goccia", come viene definito dalle varie testate, aiuta a rendere più sottile lo smartphone quando lo schermo è chiuso e riduce l'effetto "piega" che può emergere con il display aperto, ma sembra che non riesca comunque ad incrementare la resistenza del dispositivo.

I test effettuati da Samsung sembrano propendere sul limite delle 200.000 aperture che avevamo visto anche con i modelli Fold precedenti, dunque da questo punto di vista non sarebbero stati fatti passi avanti concreti, pur trattandosi di un elemento di notevole importanza.

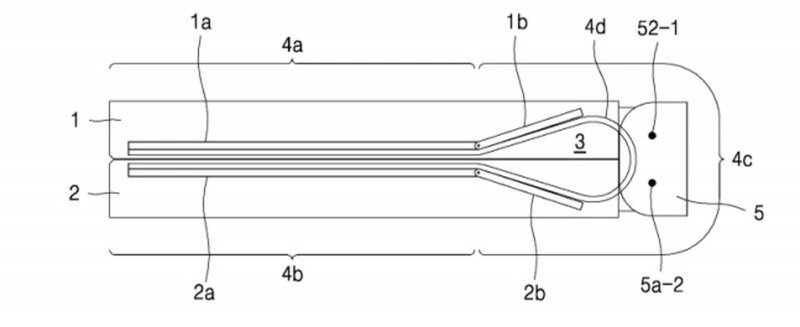
Samsung Galaxy Fold 5, il brevetto sul nuovo design della cerniera
Samsung Galaxy Fold 5, il brevetto sul nuovo design della cerniera

Sebbene questo sia un punto debole fisiologico del design a schermo pieghevole, alcuni concorrenti riescono già ad offrire soluzioni molto più longeve: Honor Magic VS e Oppo Find N2 sono stati entrambi valutati con un limite di 400.000 "piegature", ovvero un incremento sostanziale.

Secondo quanto riportato dal sito coreano The Elec, i test di Samsung puntano a un limite massimo di 300.000 aperture, ma sembra che 200.000 sia la soglia più affidabile raggiunta finora. Si tratta, comunque, di una quantità tale da corrispondere a 100 aperture al giorno dello smartphone per 5 anni, dunque non una cosa particolarmente preoccupante.

In ogni caso, attendiamo dati e valutazioni finali e ufficiali per il Samsung Galaxy Z Fold 5, il quale, come i precedenti Samsung Galaxy Z Fold 4 e Z Flip 4, vanta anche la resistenza all'acqua con certificazione IPX8, cosa che i concorrenti diretti non supportano.

Questo contenuto potrebbe includere link affiliati che generano commissioni.
Per conoscere i dettagli della nostra policy editoriale, è disponibile la pagina etica.