90

PS5 DualSense: funzionamento e differenze con il controller di Xbox Series X

DualSense, il nuovo controller di PS5, si basa su delle tecnologie piuttosto inedite tra i controller per videogiochi, dunque è interessante capirne un po' il funzionamento e le differenze con il controller di Xbox Series X.

NOTIZIA di Giorgio Melani   —   25/08/2020

Il DualSense rappresenta una caratteristica centrale per PS5, come dimostra fin qui la comunicazione adottata da Sony per promuovere la sua nuova console, ma gli elementi distintivi di questo dispositivo possono non essere chiari, dunque è interessante un ripasso sul suo funzionamento e sulle differenze con il controller di Xbox Series X.

La questione è stata illustrata dall'utente VanWinkle di ResetEra e, sebbene siano informazioni piuttosto note a chi ha seguito con più attenzione novità e annunci sul DualSense, risulta comunque interessante una spiegazione più approfondita sul suo funzionamento. In particolare, vengono messe in evidenza le differenze con le tecnologie utilizzate sugli altri controller.

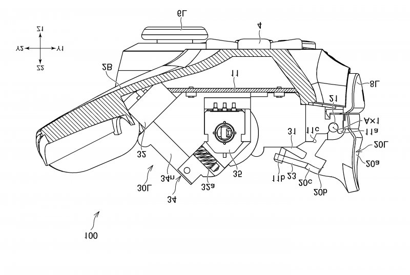
I grilletti adattivi del DualSense, per esempio, si basano su un sistema completamente diverso dagli Impulse Triggers di Xbox One (e presumibilmente Xbox Series X), i quali sono comunque basati sulla vibrazione data da motori di tipo ERM. Gli adaptive trigger di DualSense si basano su una serie di ingranaggi meccanici che possono modificare la resistenza dei grilletti in tempo reale, in base a come gli sviluppatori vogliono programmarli in varie situazioni di gioco. Il sistema può essere visto più nel dettaglio nelle immagini tratte dal brevetto legato alla tecnologia in questione, riportate qui sotto.

Un altro argomento noto ma che spesso non viene precisamente colto è la differenza del feedback aptico con la vibrazione standard. Il controller di Xbox ha un sistema di feedback aptico basato su motori ERM disposti sui due lati dell'impugnatura e sotto i grilletti: questi sono basati un peso asimmetrico posto su un'asta rotante, che con la forza centrifuga determina una vibrazione a intensità variabile.

Il feedback aptico di DualSense è invece basato su un sistema chiamato Voice-Coil Actuator, specificamente dei Linear Resonant Actuator. Questi ultimi si attivano con un input a corrente alternata che produce una vibrazione a frequenza e ampiezza diverse in base all'input ottenuto. In sostanza si tratta di onde sonore che possono avere una varietà enorme in termini di intensità. I vantaggi nell'utilizzo di questo sistema si trovano nella minore quantità di energia richiesta per funzionare, nel fatto che i motori si attivano molto più velocemente e anche per brevissimi attimi e che producono meno rumore dei motori ERM. Richiedono circuiti molto più complessi, dunque lo svantaggio eventuale potrebbe essere nel costo del DualSense, ma su questo aspetto non sappiamo ancora nulla di ufficiale.

Tra le notizie emerse di recente sul DualSense, c'è il fatto che, in base a un brevetto, è possibile che il controller DualSense possa riconoscere chi lo sta utilizzando, anche se la funzionalità non è stata annunciata in via ufficiale, oltre al fatto che in Gran Turismo 7 il controller riprodurrà l'effetto dell'ABS in maniera realistica.

Eviwkjvu0Aa2C4H


Eviwkaou8Aalow5
Questo contenuto potrebbe includere link affiliati che generano commissioni.
Per conoscere i dettagli della nostra policy editoriale, è disponibile la pagina etica.