1

Apple brevetta una fotocamera invisibile sotto lo schermo: possibile novità per iPhone e Apple Watch?

Apple ottiene un nuovo brevetto per integrare fotocamera e flash all'interno del display: una soluzione che diventa visibile solo quando serve e che potrebbe cambiare l'esperienza con iPhone e Apple Watch.

NOTIZIA di Raffaele Staccini   —   17/07/2025
Apple Watch

Apple continua a esplorare nuove soluzioni per innovare i propri dispositivi, cercando di coniugare design minimale e funzionalità avanzate. Tra le opzioni al vaglio, spicca un progetto che prevede l'integrazione di una fotocamera nascosta direttamente nel display, una tecnologia che potrebbe essere impiegata in futuro sia su iPhone che su Apple Watch. L'idea non è completamente nuova, ma ora l'azienda ha ottenuto un brevetto aggiornato che descrive un metodo per inserire fotocamera e flash nello schermo, rendendoli visibili solo al momento dell'utilizzo. Si tratta di un'evoluzione potenzialmente significativa, soprattutto per Apple Watch, che attualmente non dispone di una fotocamera integrata.

Il nuovo brevetto per la fotocamera nascosta

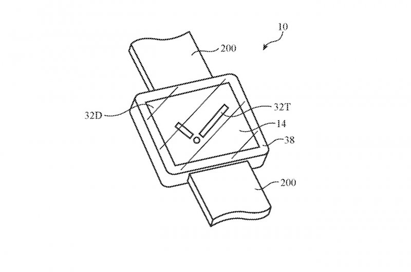
Il brevetto in questione, denominato "Electronic devices with two-stage display", esplora l'ipotesi di un display suddiviso in più strati, in grado di ospitare componenti nascosti come fotocamere e moduli di illuminazione. La tecnologia prevede l'uso di una struttura stratificata, appunto, con uno strato interno destinato ai pixel e uno superiore dedicato alla modulazione della luce. Questo approccio permetterebbe di rendere visibili determinati elementi soltanto quando necessario, lasciando il display completamente uniforme e privo di interruzioni visive durante l'uso quotidiano.

Dettaglio del brevetto che mostra come può essere visualizzato un quadrante dell'orologio
Dettaglio del brevetto che mostra come può essere visualizzato un quadrante dell'orologio

La novità risponde a un'esigenza concreta: superare i limiti estetici e funzionali rappresentati da notch, fori o sporgenze sul retro dei dispositivi. Apple ritiene che tali soluzioni, pur funzionali, compromettano l'aspetto pulito e moderno dei prodotti. Con questa nuova tecnologia, l'obiettivo è eliminare qualsiasi elemento visibile in superficie, integrando componenti come la fotocamera in modo discreto e invisibile fino al momento dell'attivazione.

Apple iPhone 16, la recensione dello smartphone Apple che fa un bel salto in avanti Apple iPhone 16, la recensione dello smartphone Apple che fa un bel salto in avanti

Anche se il brevetto è applicabile a una vasta gamma di dispositivi, compresi iPhone, iPad e MacBook, l'attenzione si concentra in particolare sull'Apple Watch. L'orologio intelligente di Apple non ha mai avuto una fotocamera integrata, e questa soluzione potrebbe rappresentare un punto di svolta, consentendo nuove modalità di comunicazione e interazione senza compromettere le dimensioni compatte del dispositivo.

L'integrazione di una fotocamera nel display dell'Apple Watch rappresenterebbe un'evoluzione importante, in linea con i trend futuri della miniaturizzazione e dell'uso esteso di tecnologie visive. Già all'inizio del 2025 si erano diffuse indiscrezioni su un prototipo di orologio dotato di una fotocamera nascosta sotto un meccanismo a scatto, ma l'idea di un modulo direttamente integrato nello schermo semplificherebbe ulteriormente il design.

Voi che cosa ne pensate? Vi piacerebbe una soluzione simile? Diteci la vostra nei commenti qua sotto. Intanto iPhone 17 Pro e Pro Max pare avranno in esclusiva un display anti-riflesso ancora più resistente.